
参保人可选择线上办理或现场办理两种途径 。
?。ㄏ呱习炖碓ど笸ü? ,需递交/邮寄资料至选择的医保经办大厅)
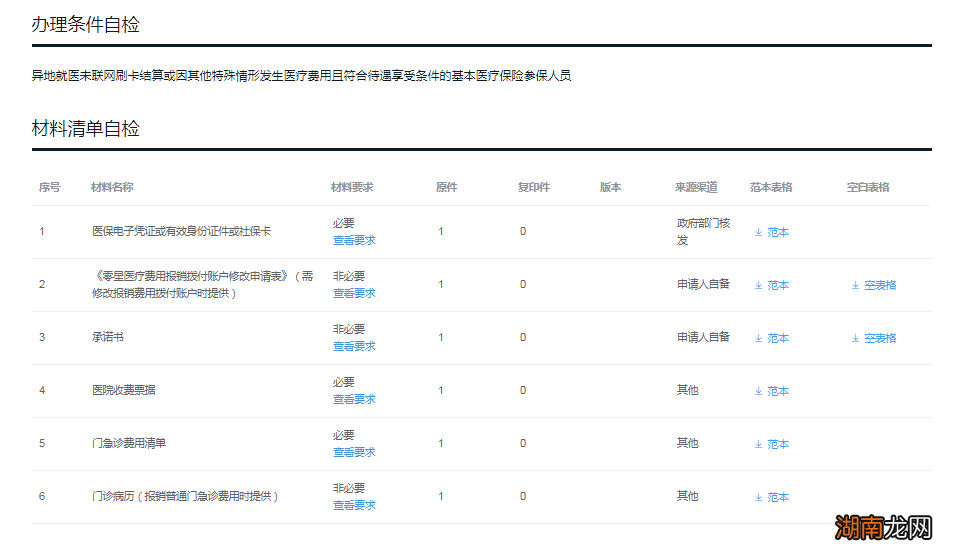
办理条件
?。?)符合异地就医政策规定的基本医疗费用
?。?)因待遇追溯、医疗保险信息系统故障等客观原因未能在社会医疗保险定点医疗机构正常记账结算的基本医疗费用
?。?)参保人因患病急诊或抢救 , 在医疗机构急诊留观或住院(含与当次住院同一诊疗过程的住院前抢救发生的门诊费用)发生的基本医疗费用
?。?)符合医疗保险政策规定的其他特殊情况
所需材料
?。?)参保人有效身份证件或医保电子凭证(若非参保人或监护人代为办理,需同时提供代办人(或单位经办人)身份证原件及委托书(或)介绍信)
?。?)财税部门印制的医疗费用收据或发票原件(须加盖医疗机构收费业务专用章) , 或符合财税部门规定的电子票据
?。?)医疗费用开支明细汇总清单(含参保人基本信息、就诊医疗机构信息、项目名称、药品剂型及剂量、规格及项目单价等;加盖医疗机构病历档案管理专用章,或加盖医疗机构业务专用章)
?。?)办理急诊留观医疗费用报销的,应提供急诊留观病历复印件(需提供原件校验)
?。?)办理普通门诊费用报销的,应提供门诊病历封面及相关费用病历记录页复印件(提供原件校验,记录页中详细记录有姓名、性别等基本信息的可不提供首页)
?。?)承诺书(需根据不同情形提供相应的承诺书:①外伤费用但无法证明无他方责任;②无法提供发票原件;③新生儿待遇追溯发票非新生儿姓名且未提供出生证明;④学生异地就医未提供学校出具的休假休学证明、户籍信息、父母现居住地相关证明资料)
【条件 材料 流程 广州医保门诊零星报销指南】温馨提示
?。ㄒ唬┎伪H嗽痹谑心诙ǖ阋搅苹狗⑸姆瞎娑ǖ囊搅品延? ,原则上均可在医疗机构直接记账或补记账结算;若因客观原因未能记账结算的,请按医疗机构指引办理零星报销手续 。
?。ǘ┎伪H嗽庇υ诮崴阋搅品延煤蠹笆钡奖臼幸搅票O站旎拱炖砹阈且搅品驯ㄏ中? ,超过1年未办理零星医疗费报销手续的,社会医疗保险基金不予支付 , 因不可抗力或存在法律纠纷等特殊情况的除外 。
?。ㄈ┮搅票O站旎苟圆伪H嗽鄙瓯ǚ瞎娑ǖ幕疽搅品延茫?按规定审核后,应当由社会医疗保险统筹基金支付的医疗费用,在30个工作日内拨付给参保人员 , 需进一步核实的,申报医疗费审核拨付时间可再适当延长,但最长不超过60个工作日 。
?。ㄋ模┝阈潜ㄏ囊搅品延迷蛏贤ü绫?ǚ褚胁Ω兜讲伪H嗽鄙缁嵋搅票O掌局ぶ械母鋈艘薪崴阏嘶?。属于以下情形的,可根据《零星医疗费用报销拨付账户修改申请表》原件及账户信息复印件修改拨付账户:
1.参保人已终止参保且医疗保险凭证账户销户(遗失或未激活社保卡金融账户)的,可由参保人(或其监护人或法定继承人)提供现场签名确认的书面申请,将医疗费拨付到参保人本人在广州市开设的其它银行账户;
2.参保人死亡且医疗保险凭证账户销户(遗失或未激活社保卡金融账户) , 需拨付到遗产继承人银行账户的,应提供有关公证书;如果继承人有多个的,须指定其中一人作为收款人 。
3.参保单位为参保人垫付医疗费的,由参保单位(加盖公章)以及参保人本人签名确认的《申请表》,可将医疗费拨付至单位账户 。
4.定点医疗机构因政策规定等特殊原因为参保人全额垫付医疗费,由医疗机构(加盖公章)以及参保人本人签名确认的《申请表》 , 可将医疗费拨付至医疗机构在市医保中心登记的医疗费结算账户 。
5.因客观原因不能激活社保卡及不能回广州提取个人零报账户资金的异地就医人员 , 拨入本人在广州开立的其他银行账户,开户行应为医保协议银行(光大银行、广州银行、广发银行、农业银行、中国银行、工商银行、农商银行、招商银行、交通银行、建设银行、邮储银行) 。
网上办理(相关界面显示仅供参考,请以实际系统显示为准 。)
?。ㄒ唬┩ü愣穹裢炖?
1.登录“广东政务服务网” 。http://www.gdzwfw.gov.cn/

2.“切换区域与部门”选择“广州市—市医保局” 。(请勿选择到区)

3.在搜索栏搜索“门诊费用报销” 。

4.选择“门诊费用报销”

5.选择“办事情景”

6. 办理情形选择具体需要办理的业务情形,下载相关材料范本或空表 。


7.非参保人本人申请的,在相应办理情形信息录入界面中的申请主体信息应填写申请办理此项业务的参保人信息 。

8.在上传资料界面 , 将所需要的资料照片或扫描件按要求进行上传 。

9.在办理方式选择界面 , 根据申请人参保所在区选择“大厅办理”及“大厅取件”的服务网点(后续在选择的网点递交资料) 。
10. 点击“确认提交”完成业务办理 。

11.根据预受理结果完善申请资料或递交(邮寄)资料。

猜你喜欢
- 装修 灵感 | 130㎡的工业风公寓,材料混搭细节质感反被拉满!
- 撤销债务人的财产转移要具备什么条件 银行如何撤销债务人转移财产的行为
- 离婚财产申请法院强制执行有关流程 民法典中离婚财产如何申请执行
- 附报销流程 长沙城乡居民医保住院怎么报销
- 烟台健康管理师合格证书查询流程
- 烟台健康管理师考试成绩查询流程
- 烟台健康管理师考试准考证打印流程
- 邯郸退役军人逐月领取退役金的条件
- 2022年莆田市南门第二幼儿园招生条件+时间+材料
- 2022莆田城厢区南门中特幼儿园招生需要准备什么材料?
